Máquina flejadora vertical de paletas completamente automática
Componentes principales de la máquina flejadora vertical
1. Bastidor básico de la máquina con dos columnas y travesaño, guías de carro verticales y cadenas
2. Módulo de cremallera, móvil entre dos columnas con sistema de guía de carro
3. Accionamiento del carro con motorreductor de freno
4. Estructura de la pista de flejes (tolva) hecha de perfiles de aluminio ranurados y fijada al marco de la máquina,
solapas cortas accionadas por resorte para permitir la alimentación de la correa a cualquier altura
5. Sistema de lanza, para aplicar fleje a través del hueco del palet, altura de sección 80 mm
6. Conexiones al cabezal de flejado con ecualizador de tensión de fleje
7. Manejo de la máquina flejadora vertical por panel de control, estado de la máquina mostrado por Cyklop Touchpanel tamaño 7“, pantalla a color.
Datos técnicos de Máquina automática de flejado de paletas verticales
1. fuente de alimentación: 3/ n, pe, (cable neutro = capacidad de carga)
2. voltaje de control: 24 v CC
3. puntuación de poder: max tres cero kw
4. peso total del dispositivo: aprox. 800 hasta 1.000 kg
5. restricción de temperatura ambiente: + cinco °c hasta + 35 °c
6. pico del sistema de transporte: Rodillo lateral de pináculo / cadena de máquina transportadora mín. 180 mm hasta máx. 800 mm

Datos técnicos de Máquina flejadora vertical de paletas completamente automática
KA5 |
||
Ancho y calidad de la correa |
||
MASCOTA |
9,0 - 18,5mm |
|
PÁGINAS |
/ |
|
Bobina de correa |
||
Diámetro central |
406mm |
|
Diámetro externo |
600mm |
|
Ancho |
150mm |
|
Nº de bucles |
7 |
|
Almacenamiento de correa |
15 metros |
|
Fuerza de despegue de la correa |
eso. 5 norte |
|
Secuencia de operación :
1. El paquete se transporta de forma centralizada a la posición de flejado.
2. Se envía una señal sin voltaje desde el sistema de control del cliente a la máquina flejadora vertical.
3. Cierre del marco de la pista de la correa (chute) moviendo el sistema de lanza hacia adelante.
4. El módulo de bastidor con el cabezal de flejado se mueve hacia abajo sobre la superficie del paquete. El la correa se alimenta alrededor de la pista.
5. Se inicia el ciclo de flejado. La correa se tira hacia atrás, se tensa, se sella y se corta. Apertura del marco de la pista de la correa (chute) moviendo el sistema de lanza hacia atrás. El módulo de bastidor con cabezal de flejado vuelve a la posición base.
Si es así, transporte el paquete a la siguiente posición de flejado y repita el procedimiento de flejado.
Después de completar el programa, la máquina envía una señal sin voltaje al sistema de control del transportador para transportar la carga fuera de la máquina.
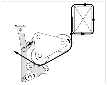
Componentes principales del cabezal de flejado
1 unidad de tensión
2 Cassette sellador
3 enchufes
4 engranajes de tensión
5 barra oscilante
6 ruedas tensoras
La unidad de tensión y el accionamiento de avance y retroceso tensan la correa. Al aumentar la tensión, la barra oscilante (palanca) se levanta.
El eslabón y la palanca de presión comprimen las ruedas tensoras. Entonces se aplica alta tensión únicamente por el embrague de tensión.
Los extremos de la correa se presionan y frotan entre sí hasta alcanzar una temperatura que asegure una soldadura adecuada.
Panel de control:
Posición: Libre selección dentro de la longitud de los juegos de cables de 5 m
Dimensiones: Altura: 1.060 mm, incluida la base del armario 1,060
Ancho: 600mm
Profundidad: 480mm
Normativas: siguiendo VDE 0100/0113, EN 60204, clase de protección IP 54
Interfaz con el sistema de control Cyklop mediante señales libres de tensión
SOCIEDAD ANÓNIMA: siemens s7
Estado de la máquina mostrado por el panel táctil
Datos generales del cabezal de flejado CF H1 :
Datos técnicos
1. Calidad de la correa: MASCOTA
2. Ancho de la correa: 12,0 mm a 19 milímetro
3. Grosor de la correa: > 0,58 mm a 1,12 mm
4. Velocidad de avance y recogida de la correa: 2,9 m/seg.
5. Tipo de sellado: Soldadura por fricción
6. Tiempo de sellado: aprox. 1,5 seg. hasta 2 seg. (Dependiendo de la correa y la tensión)
7. Fuerza de tracción: 200 hasta 5.500 (Tiempo de sellado Número de tensado multietapa:
8. ancho del paquete: 80mm
9. Correa centro asimetrica 35 mm / 237 mm
10 Fuente de alimentación: 3/ N, PE, (Cable neutro = capacidad de carga)
11 Potencia nominal : 1,0 kilovatios
12 Control del voltaje: :24 V CC
13 Peso: 79 kg
14 Pintura:RAL 7035
Más información, por favor hable con nosotros en cualquier momento.
Guerra
WhatsApp:+86 15634865861








